专利数据库
统计分析
产业报告
专利数据监控
产业人才
行业动态
产业政策法规
维权援助
个人中心
详情
文本
图像
标题
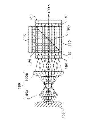
内視鏡用プローブ
授权日
1900-01-01
公开(公告)号
JP2004222870A
申请日
2003-01-21
公开(公告)日
2004-08-12
当前申请(专利权)人
ペンタックス株式会社
发明人
水野 純 ホジェリオ
简单同族
JP2004222870A | US20040147810A1 | US7223232
简单同族成员数量
3
简单同族被引用专利总数
61
诉讼案件数
0
法律状态/事件
驳回 | 权利转移
抱歉,您的浏览器不支持PDF预览,请点击链接下载PDF文件