专利数据库
统计分析
产业报告
专利数据监控
产业人才
行业动态
产业政策法规
维权援助
个人中心
详情
文本
图像
标题
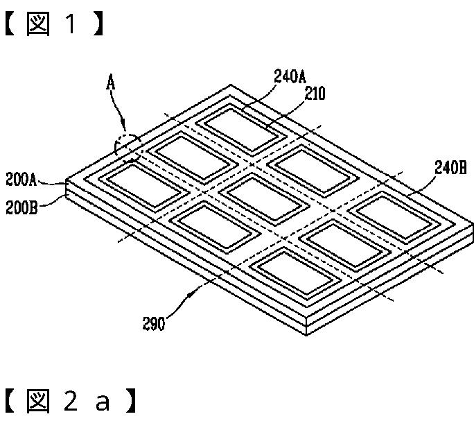
液晶表示パネルの切断方法
授权日
2010-05-21
公开(公告)号
JP4516377B2
申请日
2004-08-12
公开(公告)日
2010-08-04
当前申请(专利权)人
エルジー ディスプレイ カンパニー リミテッド
发明人
丁 聖 守
简单同族
CN100359370C | CN1621895A | JP2005165264A | JP4516377B2 | KR100689314B1 | KR1020050052168A | US20050118921A1 | US7265805
简单同族成员数量
8
简单同族被引用专利总数
54
诉讼案件数
0
法律状态/事件
授权
抱歉,您的浏览器不支持PDF预览,请点击链接下载PDF文件