专利数据库
统计分析
产业报告
专利数据监控
产业人才
行业动态
产业政策法规
维权援助
个人中心
详情
文本
图像
标题
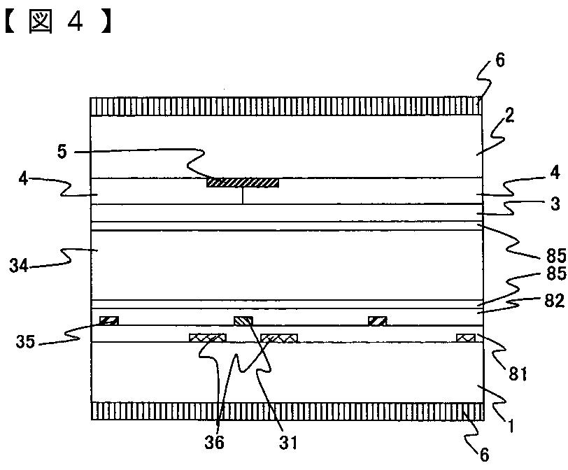
液晶表示装置
授权日
2006-09-01
公开(公告)号
JP3847590B2
申请日
2001-08-30
公开(公告)日
2006-11-22
当前申请(专利权)人
株式会社日立製作所
发明人
青山 哲也 | 沖代 賢次 | 近藤 克己 | 山本 恒典 | 小村 真一
简单同族
CN100390623C | CN1403855A | JP2003075850A | JP3847590B2 | KR100846276B1 | KR1020030023481A | TW594147B | US20030043098A1 | US6967637
简单同族成员数量
9
简单同族被引用专利总数
64
诉讼案件数
0
法律状态/事件
未缴年费 | 权利转移
抱歉,您的浏览器不支持PDF预览,请点击链接下载PDF文件