专利数据库
统计分析
产业报告
专利数据监控
产业人才
行业动态
产业政策法规
维权援助
个人中心
详情
文本
图像
标题
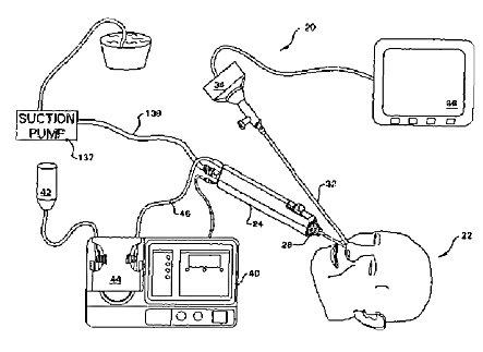
鼻および喉洗浄システムおよび洗浄方法
授权日
1900-01-01
公开(公告)号
JP2005532869A
申请日
2003-07-10
公开(公告)日
2005-11-04
当前申请(专利权)人
ストライカー·コーポレーション
发明人
アルヴァレス エドガルド エル. | セトリフ ザ サード リューベン ザ サード
简单同族
CA2493356A1 | EP1534152A1 | JP2005532869A | US20040059363A1 | US7318831 | WO2004006788A1
简单同族成员数量
6
简单同族被引用专利总数
456
诉讼案件数
0
法律状态/事件
撤回
抱歉,您的浏览器不支持PDF预览,请点击链接下载PDF文件