专利数据库
统计分析
产业报告
专利数据监控
产业人才
行业动态
产业政策法规
维权援助
个人中心
详情
文本
图像
标题
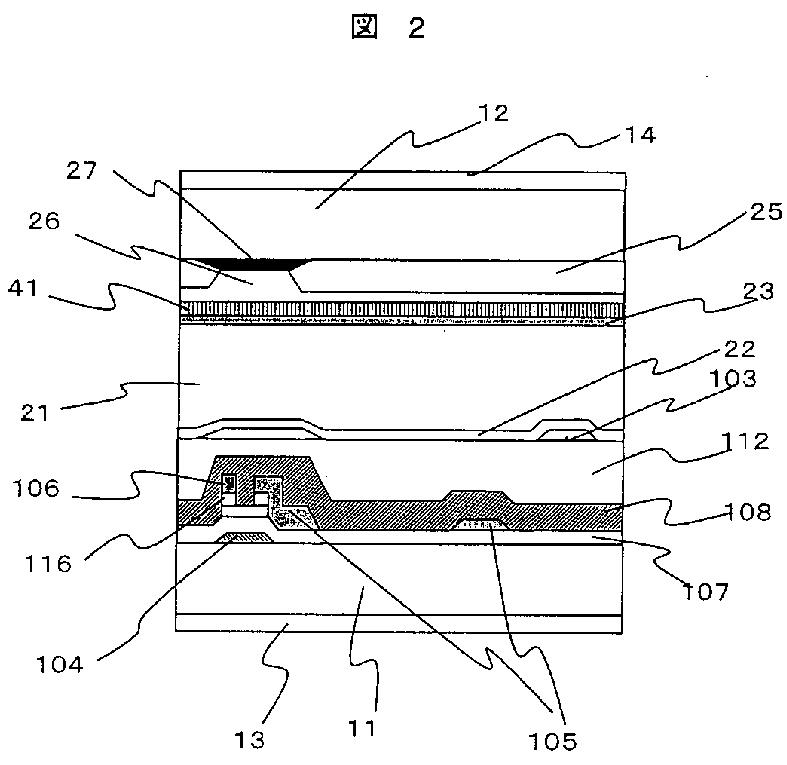
液晶表示装置
授权日
2009-04-10
公开(公告)号
JP4292132B2
申请日
2004-09-24
公开(公告)日
2009-07-08
当前申请(专利权)人
株式会社 日立ディスプレイズ
发明人
内海 夕香 | 富岡 安 | 松森 正樹 | 松山 茂 | 國松 登 | 山本 恒典
简单同族
CN100533235C | CN1752826A | JP2006091393A | JP4292132B2 | KR100639287B1 | KR1020060053155A | TW200613822A | TWI323363B | US20060066788A1
简单同族成员数量
9
简单同族被引用专利总数
54
诉讼案件数
0
法律状态/事件
授权 | 权利转移
抱歉,您的浏览器不支持PDF预览,请点击链接下载PDF文件