专利数据库
统计分析
产业报告
专利数据监控
产业人才
行业动态
产业政策法规
维权援助
个人中心
详情
文本
图像
标题
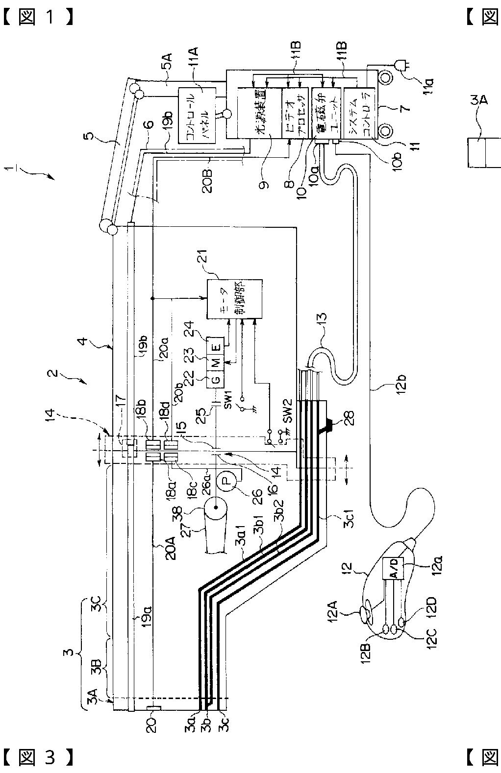
挿入部着脱式電動湾曲内視鏡装置
授权日
2011-01-28
公开(公告)号
JP4674214B2
申请日
2005-12-02
公开(公告)日
2011-04-20
当前申请(专利权)人
オリンパス株式会社
发明人
上野 晴彦 | 石塚 達也 | 池田 裕一 | 古川 達也 | 正木 豊 | 小板橋 正信 | 金澤 憲昭
简单同族
EP1825801A1 | EP1825801A4 | EP1825801B1 | JP4674214B2 | JPWO2006059722A1 | US20070232856A1 | US8303487 | WO2006059722A1
简单同族成员数量
8
简单同族被引用专利总数
61
诉讼案件数
0
法律状态/事件
授权 | 权利转移
抱歉,您的浏览器不支持PDF预览,请点击链接下载PDF文件