专利数据库
统计分析
产业报告
专利数据监控
产业人才
行业动态
产业政策法规
维权援助
个人中心
详情
文本
图像
标题
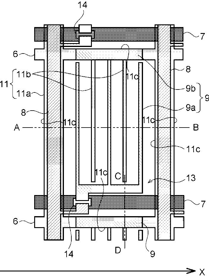
液晶表示装置
授权日
2012-09-28
公开(公告)号
JP5093724B2
申请日
2007-10-29
公开(公告)日
2012-12-12
当前申请(专利权)人
NLTテクノロジー株式会社
发明人
北川 善朗
简单同族
CN101424851A | CN103645588A | JP2009109656A | JP5093724B2 | US20090109202A1
简单同族成员数量
5
简单同族被引用专利总数
61
诉讼案件数
0
法律状态/事件
授权 | 权利转移
抱歉,您的浏览器不支持PDF预览,请点击链接下载PDF文件