专利数据库
统计分析
产业报告
专利数据监控
产业人才
行业动态
产业政策法规
维权援助
个人中心
详情
文本
图像
标题
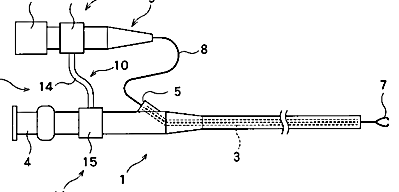
医療用連結保持器具
授权日
2009-01-07
公开(公告)号
JP3147945U
申请日
2008-11-07
公开(公告)日
2009-01-29
当前申请(专利权)人
エム·シー·メディカル株式会社
发明人
樋 口 敬 介
简单同族
JP3147945U
简单同族成员数量
1
简单同族被引用专利总数
0
诉讼案件数
0
法律状态/事件
未缴年费 | 权利转移
抱歉,您的浏览器不支持PDF预览,请点击链接下载PDF文件