专利数据库
统计分析
产业报告
专利数据监控
产业人才
行业动态
产业政策法规
维权援助
个人中心
详情
文本
图像
标题
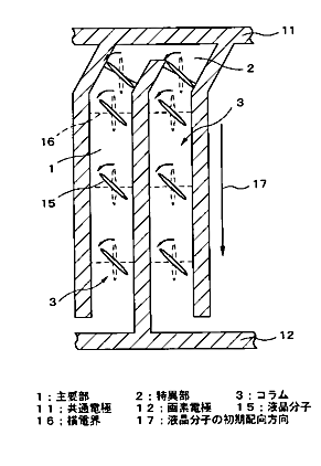
横電界型液晶表示装置
授权日
1900-01-01
公开(公告)号
JP2007248557A
申请日
2006-03-14
公开(公告)日
2007-09-27
当前申请(专利权)人
NLTテクノロジー株式会社
发明人
今野 隆之
简单同族
CN101038403A | CN101038403B | JP2007248557A | JP4997624B2 | US20070216841A1 | US7724337
简单同族成员数量
6
简单同族被引用专利总数
66
诉讼案件数
0
法律状态/事件
授权
抱歉,您的浏览器不支持PDF预览,请点击链接下载PDF文件