专利数据库
统计分析
产业报告
专利数据监控
产业人才
行业动态
产业政策法规
维权援助
个人中心
详情
文本
图像
标题
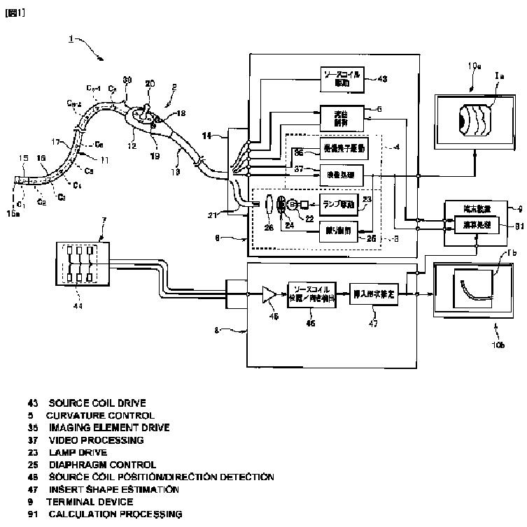
内視鏡システム
授权日
1900-01-01
公开(公告)号
JPWO2010082383A1
申请日
2009-10-08
公开(公告)日
2012-06-28
当前申请(专利权)人
オリンパスメディカルシステムズ株式会社
发明人
田中 秀樹
简单同族
CN102123651A | CN102123651B | EP2301411A1 | EP2301411A4 | EP2301411B1 | JP4585048B2 | JPWO2010082383A1 | US20100298641A1 | US8167791 | WO2010082383A1
简单同族成员数量
10
简单同族被引用专利总数
60
诉讼案件数
0
法律状态/事件
授权 | 权利转移
抱歉,您的浏览器不支持PDF预览,请点击链接下载PDF文件