专利数据库
统计分析
产业报告
专利数据监控
产业人才
行业动态
产业政策法规
维权援助
个人中心
详情
文本
图像
标题
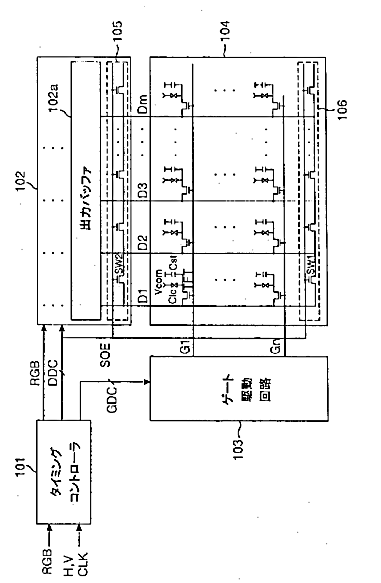
液晶表示装置、液晶表示装置の駆動方法及びチャージシェア回路
授权日
1900-01-01
公开(公告)号
JP2007058177A
申请日
2006-06-27
公开(公告)日
2007-03-08
当前申请(专利权)人
エルジー フィリップス エルシーディー カンパニー リミテッド
发明人
ソンチョル·ハ | マンギュ·パク
简单同族
CN100426063C | CN1920624A | DE102006027401A1 | DE102006027401B4 | FR2890224A1 | FR2890224B1 | GB0611586D0 | GB2429569A | GB2429569B | JP2007058177A | KR1020070023099A | TW200709143A | TWI373745B | US20070046613A1 | US7817126
简单同族成员数量
15
简单同族被引用专利总数
51
诉讼案件数
0
法律状态/事件
实质审查
抱歉,您的浏览器不支持PDF预览,请点击链接下载PDF文件