专利数据库
统计分析
产业报告
专利数据监控
产业人才
行业动态
产业政策法规
维权援助
个人中心
详情
文本
图像
标题
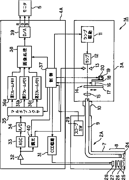
内視鏡装置
授权日
1900-01-01
公开(公告)号
JP2002336196A
申请日
2001-05-16
公开(公告)日
2002-11-26
当前申请(专利权)人
オリンパス株式会社
发明人
金子 守 | 井辺 大 | 森實 祐一 | 吉満 浩一 | 竹端 栄 | 平尾 勇実 | 小澤 剛志 | 中村 一成 | 道口 信行 | 上野 仁士 | 秋本 俊也 | 寺窪 優輝
简单同族
JP2002336196A | JP4855586B2
简单同族成员数量
2
简单同族被引用专利总数
97
诉讼案件数
0
法律状态/事件
授权 | 权利转移
抱歉,您的浏览器不支持PDF预览,请点击链接下载PDF文件