专利数据库
统计分析
产业报告
专利数据监控
产业人才
行业动态
产业政策法规
维权援助
个人中心
详情
文本
图像
标题
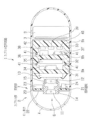
カプセル型内視鏡
授权日
1900-01-01
公开(公告)号
JP2004275542A
申请日
2003-03-17
公开(公告)日
2004-10-07
当前申请(专利权)人
オリンパス株式会社
发明人
鈴島 浩
简单同族
EP1604606A1 | EP1604606A4 | JP2004275542A | US20050043586A1 | US7229407 | WO2004082470A1
简单同族成员数量
6
简单同族被引用专利总数
110
诉讼案件数
0
法律状态/事件
驳回
抱歉,您的浏览器不支持PDF预览,请点击链接下载PDF文件