专利数据库
统计分析
产业报告
专利数据监控
产业人才
行业动态
产业政策法规
维权援助
个人中心
详情
文本
图像
标题
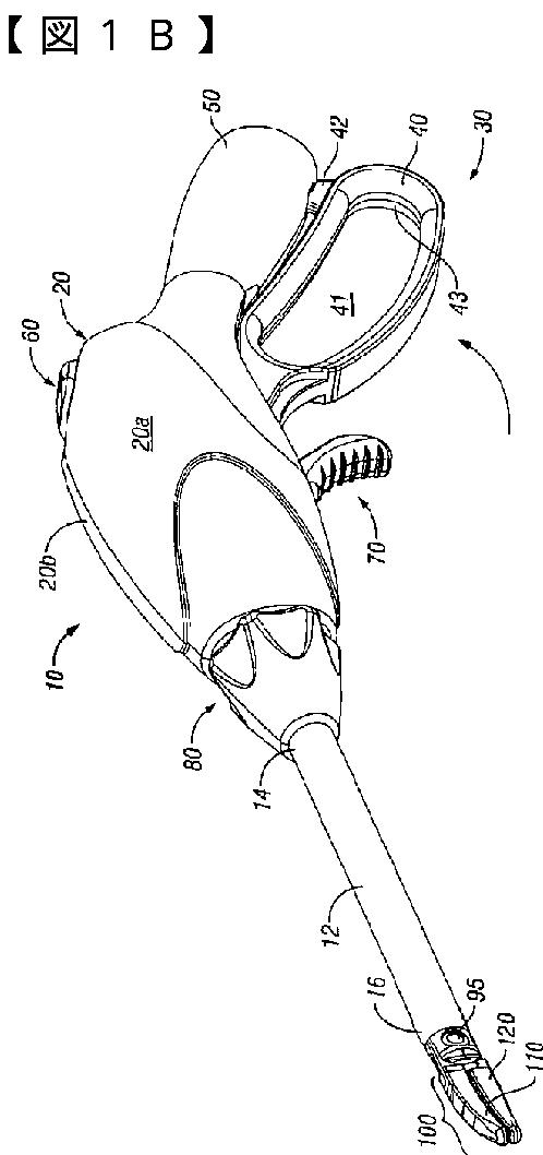
大きな組織構造のための内視鏡的血管シーラーおよびデバイダー
授权日
2014-04-11
公开(公告)号
JP5517328B2
申请日
2009-03-26
公开(公告)日
2014-06-11
当前申请(专利权)人
コヴィディエン リミテッド パートナーシップ
发明人
ジェフ アンガー
简单同族
EP2105104A2 | EP2105104A3 | EP2105104B1 | EP2712568A2 | EP2712568A3 | JP2009240781A | JP2014000437A | JP5517328B2 | US20090182327A1 | US20130116690A1 | US20150351829A1 | US8298232 | US9113903 | US9918782
简单同族成员数量
14
简单同族被引用专利总数
504
诉讼案件数
0
法律状态/事件
授权
抱歉,您的浏览器不支持PDF预览,请点击链接下载PDF文件