专利数据库
统计分析
产业报告
专利数据监控
产业人才
行业动态
产业政策法规
维权援助
个人中心
详情
文本
图像
标题
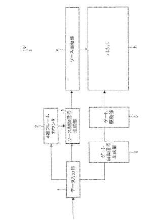
液晶表示装置及びその駆動方法
授权日
1900-01-01
公开(公告)号
JP2005189820A
申请日
2004-11-01
公开(公告)日
2005-07-14
当前申请(专利权)人
シャープ株式会社
发明人
澤辺 大一
简单同族
CN100378558C | CN1637544A | JP2005189820A | KR100749874B1 | KR1020050054465A | TW200530994A | TWI260575B | US20050122295A1 | US7548226
简单同族成员数量
9
简单同族被引用专利总数
61
诉讼案件数
0
法律状态/事件
驳回
抱歉,您的浏览器不支持PDF预览,请点击链接下载PDF文件