专利数据库
统计分析
产业报告
专利数据监控
产业人才
行业动态
产业政策法规
维权援助
个人中心
详情
文本
图像
标题
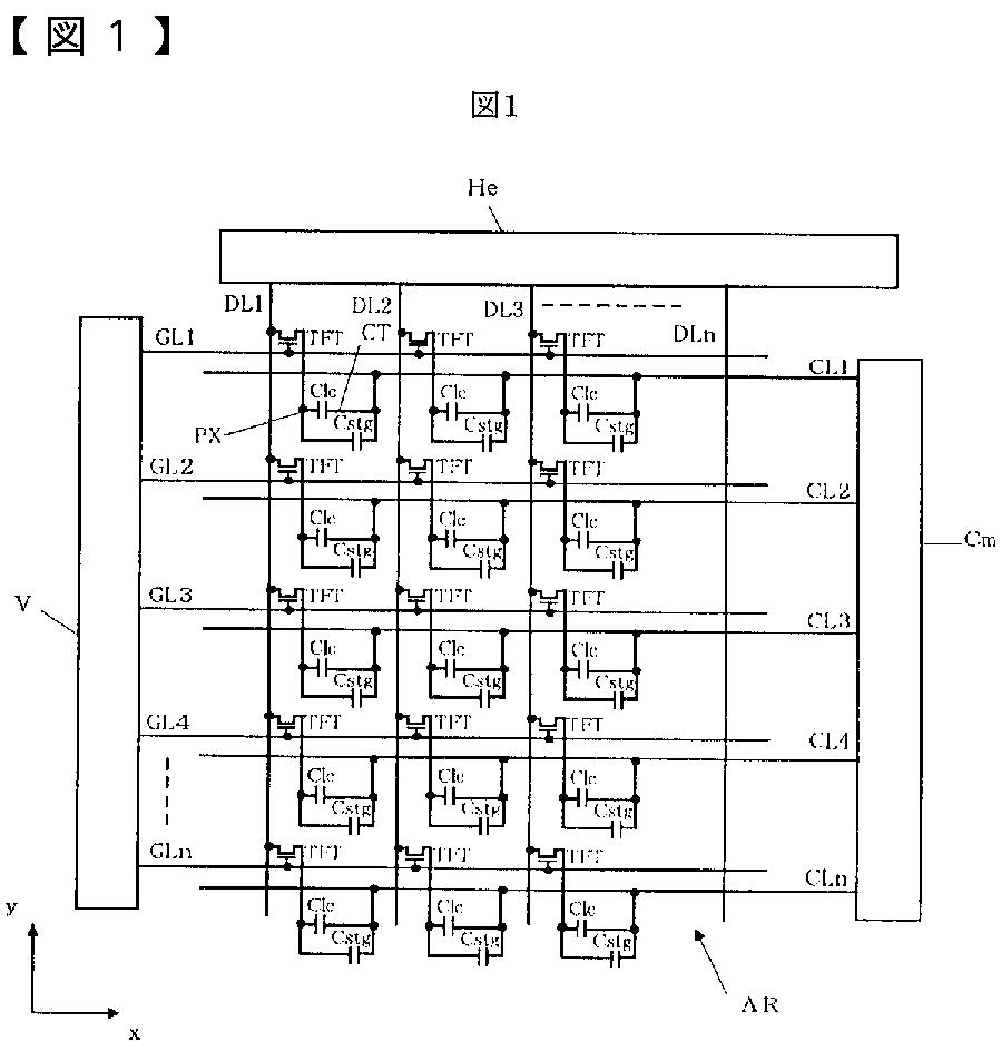
液晶表示装置
授权日
2008-02-01
公开(公告)号
JP4074207B2
申请日
2003-03-10
公开(公告)日
2008-04-09
当前申请(专利权)人
株式会社 日立ディスプレイズ
发明人
仲吉 良彰 | 今城 由博 | 柳川 和彦
简单同族
CN100451743C | CN101339755A | CN1530700A | JP2004271969A | JP4074207B2 | US20040178977A1 | US7365725
简单同族成员数量
7
简单同族被引用专利总数
67
诉讼案件数
0
法律状态/事件
授权 | 权利转移
抱歉,您的浏览器不支持PDF预览,请点击链接下载PDF文件