专利数据库
统计分析
产业报告
专利数据监控
产业人才
行业动态
产业政策法规
维权援助
个人中心
详情
文本
图像
标题
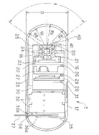
カプセル型内視鏡
授权日
1900-01-01
公开(公告)号
JP2005080790A
申请日
2003-09-05
公开(公告)日
2005-03-31
当前申请(专利权)人
オリンパス株式会社
发明人
吉野 浩一郎
简单同族
JP2005080790A | JP4128505B2 | US20050054901A1 | US20090099416A1 | US7505802 | US7955276
简单同族成员数量
6
简单同族被引用专利总数
91
诉讼案件数
0
法律状态/事件
授权 | 权利转移
抱歉,您的浏览器不支持PDF预览,请点击链接下载PDF文件