专利数据库
统计分析
产业报告
专利数据监控
产业人才
行业动态
产业政策法规
维权援助
个人中心
详情
文本
图像
标题
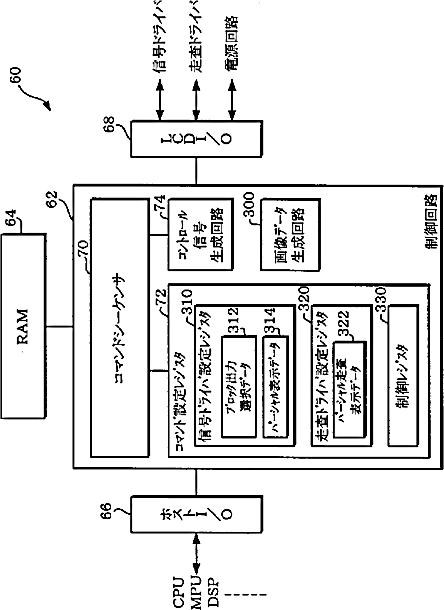
表示制御回路、電気光学装置、表示装置及び表示制御方法
授权日
1900-01-01
公开(公告)号
JP2003058130A
申请日
2001-09-13
公开(公告)日
2003-02-28
当前申请(专利权)人
セイコーエプソン株式会社
发明人
森田 晶
简单同族
CN1194332C | CN1389846A | JP2003058130A | JP2003058130A5 | JP3744826B2 | US20020196243A1 | US7123247
简单同族成员数量
7
简单同族被引用专利总数
124
诉讼案件数
0
法律状态/事件
未缴年费 | 权利转移
抱歉,您的浏览器不支持PDF预览,请点击链接下载PDF文件