专利数据库
统计分析
产业报告
专利数据监控
产业人才
行业动态
产业政策法规
维权援助
个人中心
详情
文本
图像
标题
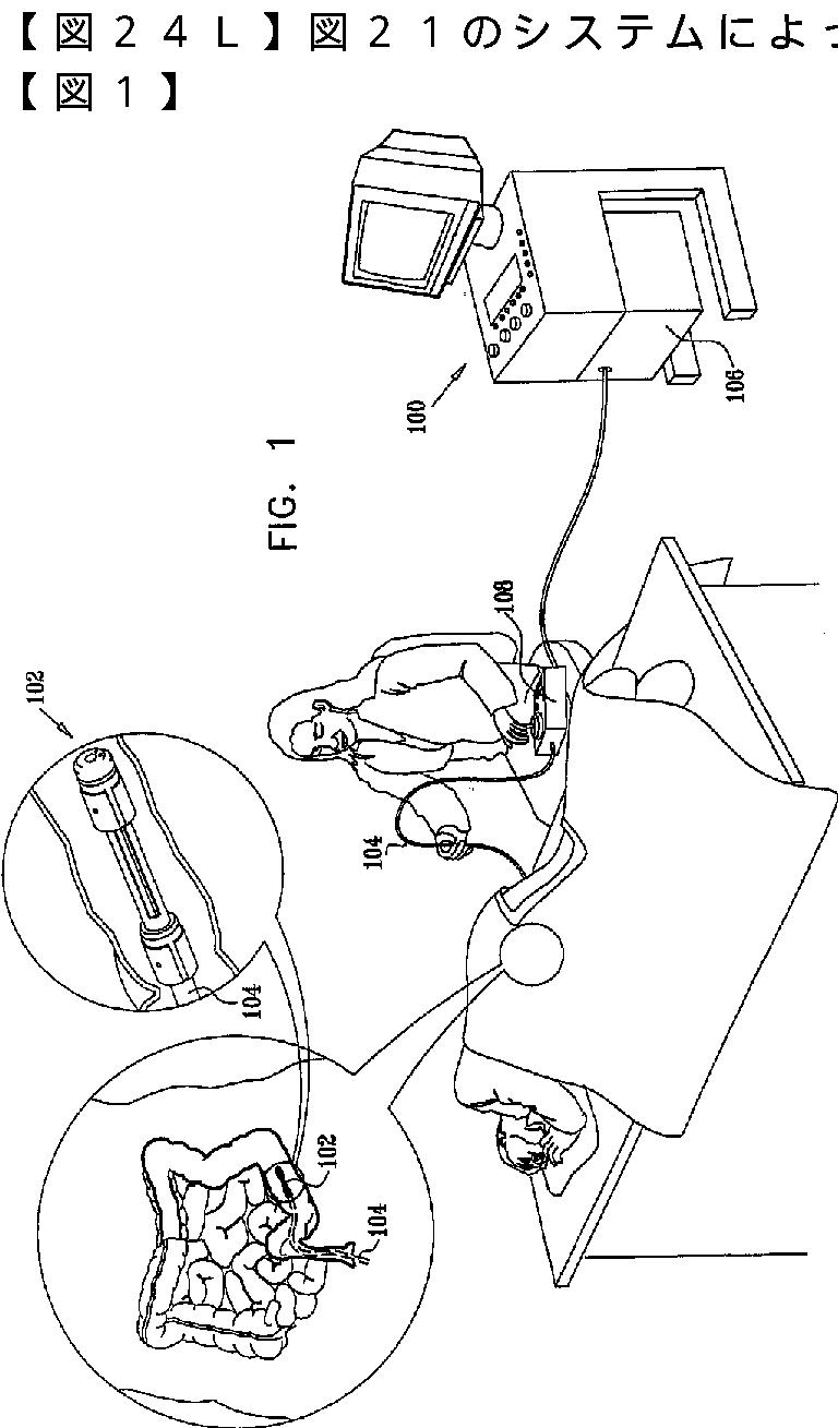
内視鏡アセンブリ
授权日
2012-05-18
公开(公告)号
JP4994849B2
申请日
2005-02-07
公开(公告)日
2012-08-08
当前申请(专利权)人
スマート·メディカル·システムズ·リミテッド
发明人
ターリウク,ガド
简单同族
AU2005211257A1 | AU2005211257B2 | AU2011200624A1 | AU2011200624B2 | CA2555314A1 | CA2555314C | CA2912914A1 | CA2912914C | CN103142199A | CN103142199B | CN106235993A | CN106235993B | EP1718193A2 | EP1718193A4 | EP1718193B1 | EP2614765A1 | EP2614765B1 | ES2429591T3 | JP2007521907A | JP2007521907A5 | JP4994849B2 | US20070276181A1 | US20080064930A1 | US20080091068A1 | US7963911 | WO2005074377A2 | WO2005074377A3
简单同族成员数量
27
简单同族被引用专利总数
138
诉讼案件数
0
法律状态/事件
授权
抱歉,您的浏览器不支持PDF预览,请点击链接下载PDF文件