专利数据库
统计分析
产业报告
专利数据监控
产业人才
行业动态
产业政策法规
维权援助
个人中心
详情
文本
图像
标题
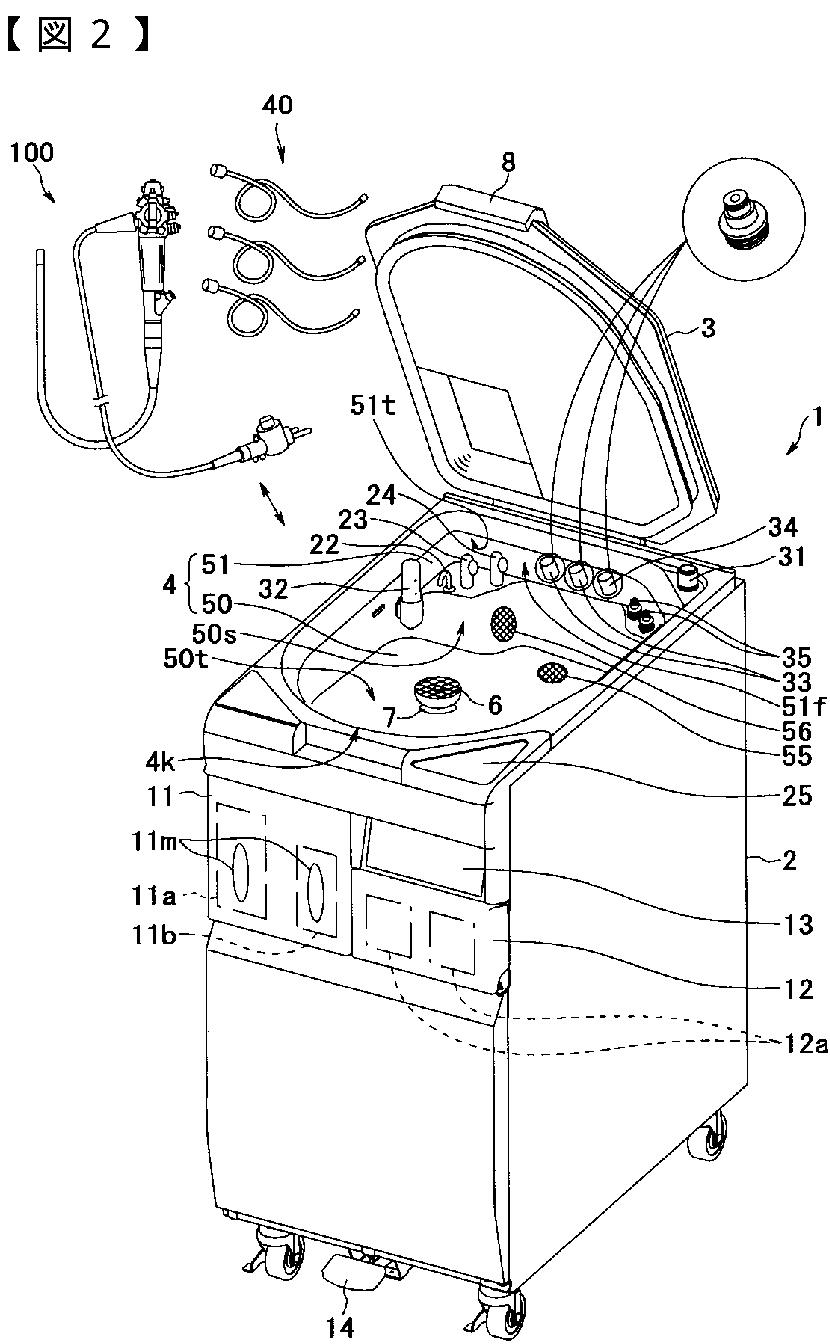
洗浄チューブ、及び内視鏡洗浄消毒装置
授权日
2013-03-15
公开(公告)号
JP5220435B2
申请日
2008-02-20
公开(公告)日
2013-06-26
当前申请(专利权)人
オリンパスメディカルシステムズ株式会社
发明人
大西 秀人 | 鈴木 英理 | 野口 利昭 | 冨田 雅彦 | 瀬分 隆太 | 長谷川 準
简单同族
CN101513341A | CN101513341B | DE602009000961D1 | EP2098185A1 | EP2098185B1 | JP2009195400A | JP5220435B2 | KR101050917B1 | KR1020090090282A | US20090205687A1 | US8267102
简单同族成员数量
11
简单同族被引用专利总数
69
诉讼案件数
0
法律状态/事件
授权 | 权利转移
抱歉,您的浏览器不支持PDF预览,请点击链接下载PDF文件