专利数据库
统计分析
产业报告
专利数据监控
产业人才
行业动态
产业政策法规
维权援助
个人中心
详情
文本
图像
标题
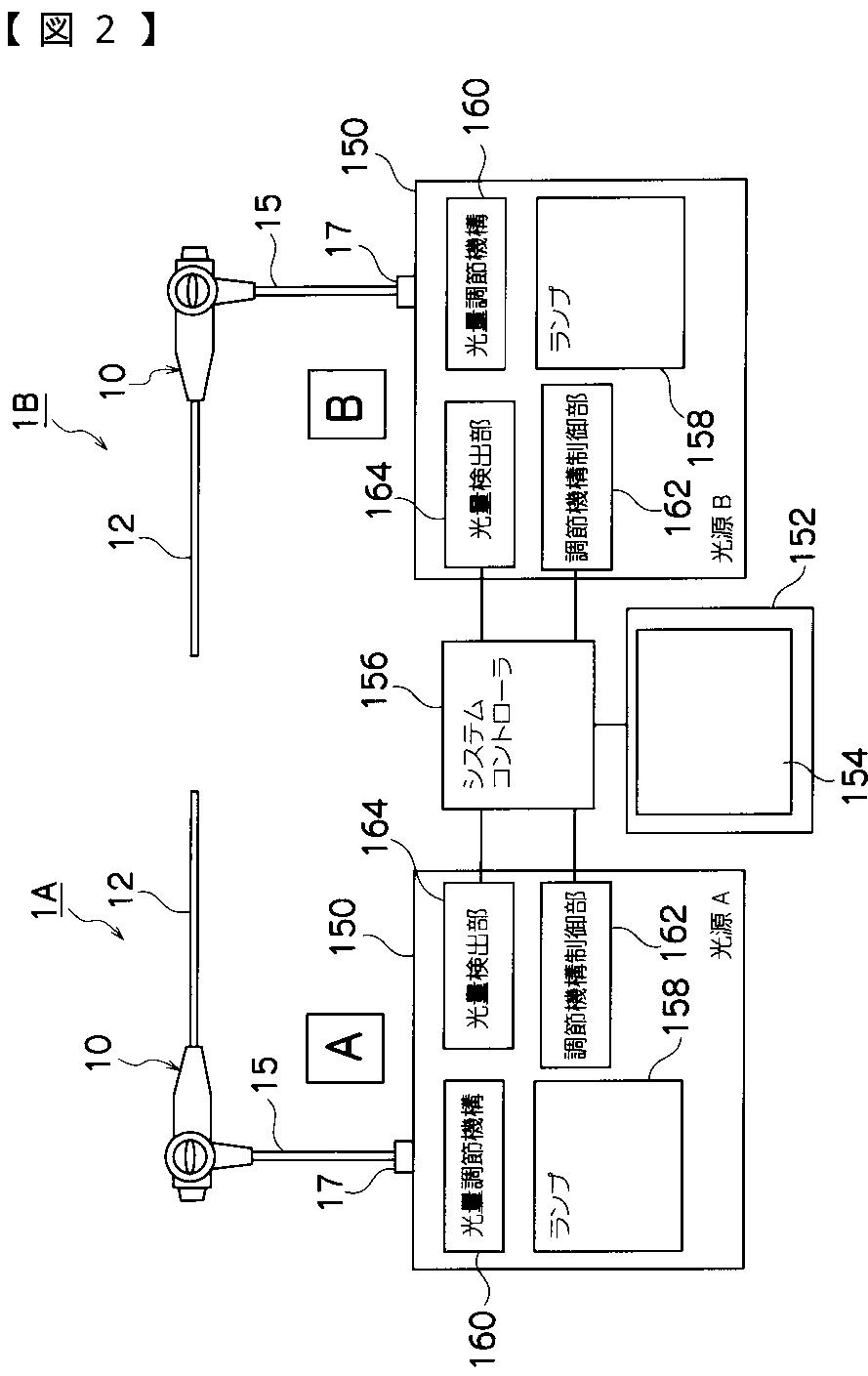
内視鏡システム
授权日
2006-05-26
公开(公告)号
JP3806934B2
申请日
2004-11-05
公开(公告)日
2006-08-09
当前申请(专利权)人
フジノン株式会社
发明人
糸井 啓友
简单同族
CN100443040C | CN1663523A | EP1570778A1 | EP1570778B1 | ES2472270T3 | JP2005279252A | JP3806934B2 | US20050222500A1 | US20090287051A1 | US7585276
简单同族成员数量
10
简单同族被引用专利总数
67
诉讼案件数
0
法律状态/事件
未缴年费 | 权利转移
抱歉,您的浏览器不支持PDF预览,请点击链接下载PDF文件