专利数据库
统计分析
产业报告
专利数据监控
产业人才
行业动态
产业政策法规
维权援助
个人中心
详情
文本
图像
标题
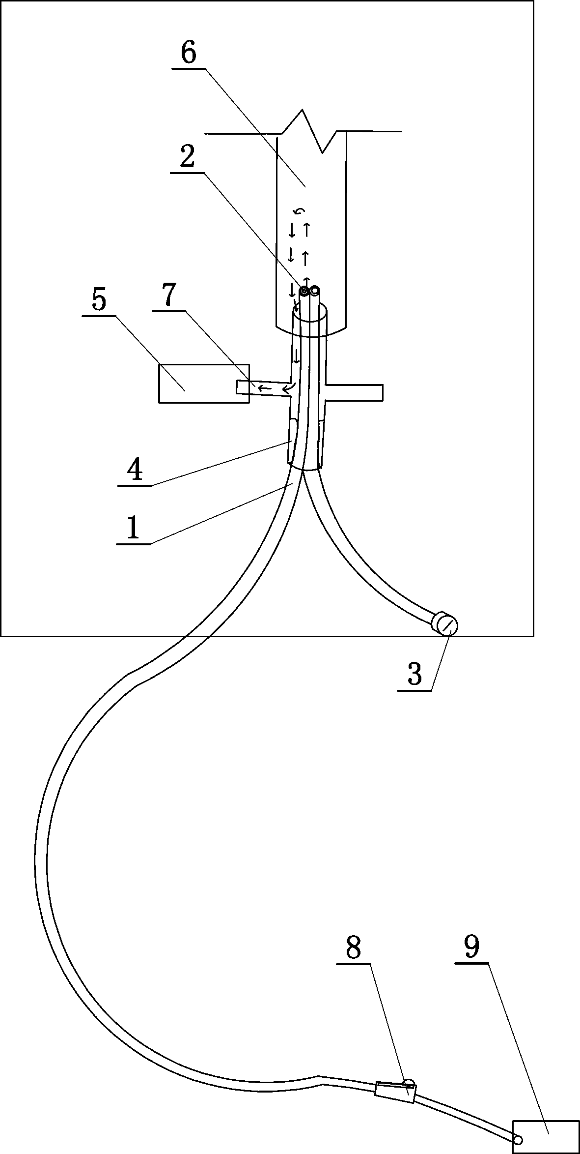
辅助输尿管镜下钬激光碎石安全装置
授权日
2019-05-14
公开(公告)号
CN208851633U
申请日
2018-02-23
公开(公告)日
2019-05-14
当前申请(专利权)人
夏永强
发明人
郭玲 | 夏耀辉 | 黄巍 | 蒋亮 | 王鹏飞 | 秦瑞 | 于春晓 | 孔波 | 侯贺帅 | 班元正 | 任常春 | 夏永强
简单同族
CN208851633U
简单同族成员数量
1
简单同族被引用专利总数
0
诉讼案件数
0
法律状态/事件
授权
抱歉,您的浏览器不支持PDF预览,请点击链接下载PDF文件