专利数据库
统计分析
产业报告
专利数据监控
产业人才
行业动态
产业政策法规
维权援助
个人中心
详情
文本
图像
标题
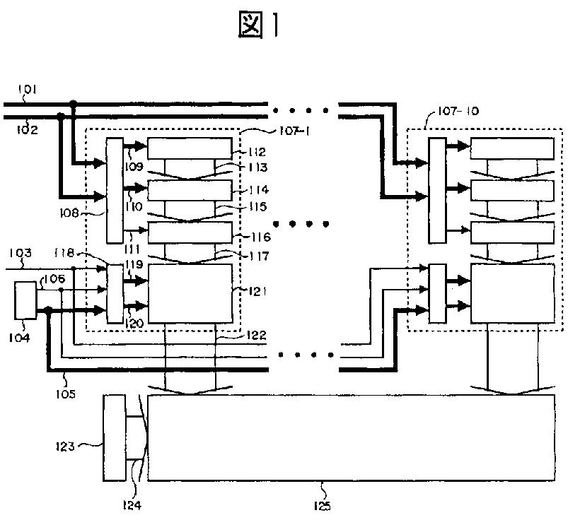
液晶ディスプレイ
授权日
2007-02-16
公开(公告)号
JP3917168B2
申请日
2006-05-02
公开(公告)日
2007-05-23
当前申请(专利权)人
株式会社日立製作所
发明人
新田 博幸 | ▲真▼野 宏之 | 古橋 勉 | 大石 純久 | 恒川 悟 | 二見 利男 | 滝田 功 | 池田 牧子
简单同族
JP1996087251A | JP2006048083A | JP2006221194A | JP2007025726A | JP2008058993A | JP2008058994A | JP2010181904A | JP3774248B2 | JP3817572B2 | JP3917168B2 | JP4053575B2 | JP4455642B2 | JP4512629B2 | JP4914926B2 | KR100190464B1 | KR1019960002127A | TW270198B | US5774106 | USR39366 | USR40916 | USR40973 | USR42597 | USR42993
简单同族成员数量
23
简单同族被引用专利总数
75
诉讼案件数
0
法律状态/事件
期限届满 | 权利转移
抱歉,您的浏览器不支持PDF预览,请点击链接下载PDF文件