专利数据库
统计分析
产业报告
专利数据监控
产业人才
行业动态
产业政策法规
维权援助
个人中心
详情
文本
图像
标题
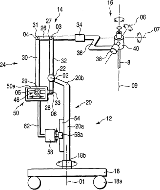
用于保持医疗用器械的装置
授权日
1900-01-01
公开(公告)号
CN101579260A
申请日
2009-04-23
公开(公告)日
2009-11-18
当前申请(专利权)人
奥林巴斯株式会社
发明人
安永浩二 | 原野健二 | 金泽宪昭
简单同族
AT526896T | CN101579260A | CN101579260B | EP2119411A1 | EP2119411B1 | JP2009273714A | JP5350675B2 | US20090283647A1 | US8038108
简单同族成员数量
9
简单同族被引用专利总数
69
诉讼案件数
0
法律状态/事件
授权 | 权利转移
抱歉,您的浏览器不支持PDF预览,请点击链接下载PDF文件