专利数据库
统计分析
产业报告
专利数据监控
产业人才
行业动态
产业政策法规
维权援助
个人中心
详情
文本
图像
标题
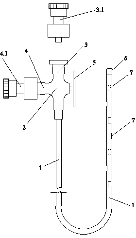
肠镜用多功能治疗管
授权日
2015-08-12
公开(公告)号
CN204543235U
申请日
2015-04-01
公开(公告)日
2015-08-12
当前申请(专利权)人
吉林医药学院
发明人
李莹 | 王允野 | 金镇勋 | 王菲 | 张丹 | 刘昆 | 赵小茹 | 郭小磊 | 赵佳 | 苏春华
简单同族
CN204543235U
简单同族成员数量
1
简单同族被引用专利总数
0
诉讼案件数
0
法律状态/事件
未缴年费
抱歉,您的浏览器不支持PDF预览,请点击链接下载PDF文件