专利数据库
统计分析
产业报告
专利数据监控
产业人才
行业动态
产业政策法规
维权援助
个人中心
详情
文本
图像
标题
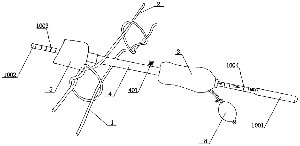
调节式阴道环扎充气举宫器
授权日
1900-01-01
公开(公告)号
CN110179532A
申请日
2019-06-25
公开(公告)日
2019-08-30
当前申请(专利权)人
李委佳
发明人
李委佳 | 谭文华 | 车建华 | 金玉霞 | 王菲 | 王瑞雪
简单同族
CN110179532A
简单同族成员数量
1
简单同族被引用专利总数
0
诉讼案件数
0
法律状态/事件
实质审查
抱歉,您的浏览器不支持PDF预览,请点击链接下载PDF文件