专利数据库
统计分析
产业报告
专利数据监控
产业人才
行业动态
产业政策法规
维权援助
个人中心
详情
文本
图像
标题
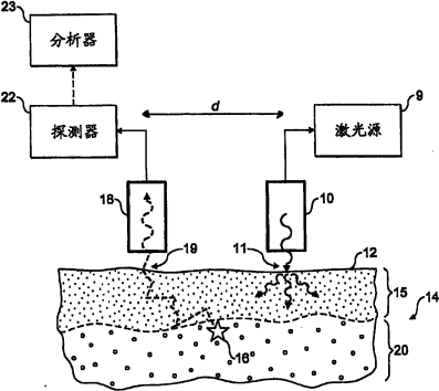
对次表面组织和液体的拉曼光谱分析
授权日
1900-01-01
公开(公告)号
CN101115986A
申请日
2005-11-25
公开(公告)日
2008-01-30
当前申请(专利权)人
英国研究与创新组织
发明人
帕维尔·马陶谢克 | 安东尼·维廉·帕克
简单同族
AT505720T | AT520974T | AU2005313144A1 | AU2005313145A1 | AU2005313145B2 | CA2591303A1 | CA2591306A1 | CN101115986A | CN101115986B | CN101115987A | CN101115987B | DE602005027485D1 | EP1828753A1 | EP1828753B1 | EP1831673A1 | EP1831673B1 | GB0426993D0 | JP2008522697A | JP2008523375A | US20080076985A1 | US20080129992A1 | US20100091276A1 | US7652763 | US8159664 | US8243269 | WO2006061565A1 | WO2006061566A1
简单同族成员数量
27
简单同族被引用专利总数
141
诉讼案件数
0
法律状态/事件
授权 | 权利转移
抱歉,您的浏览器不支持PDF预览,请点击链接下载PDF文件