专利数据库
统计分析
产业报告
专利数据监控
产业人才
行业动态
产业政策法规
维权援助
个人中心
详情
文本
图像
标题
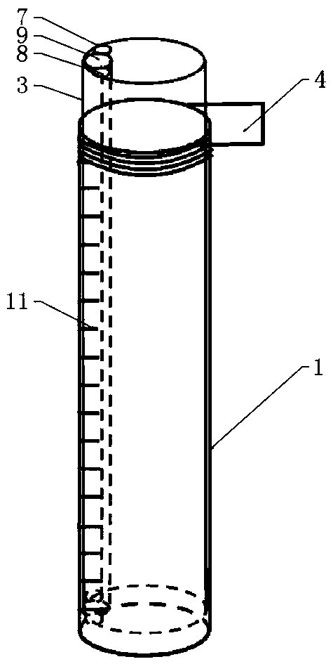
一种神经外科手术用多功能套管
授权日
2019-09-20
公开(公告)号
CN209404898U
申请日
2018-12-14
公开(公告)日
2019-09-20
当前申请(专利权)人
天津医科大学总医院
发明人
熊建华 | 韩振营 | 于圣平 | 任炳成 | 杨学军 | 岳树源 | 张建宁
简单同族
CN209404898U
简单同族成员数量
1
简单同族被引用专利总数
0
诉讼案件数
0
法律状态/事件
授权
抱歉,您的浏览器不支持PDF预览,请点击链接下载PDF文件