专利数据库
统计分析
产业报告
专利数据监控
产业人才
行业动态
产业政策法规
维权援助
个人中心
详情
文本
图像
标题
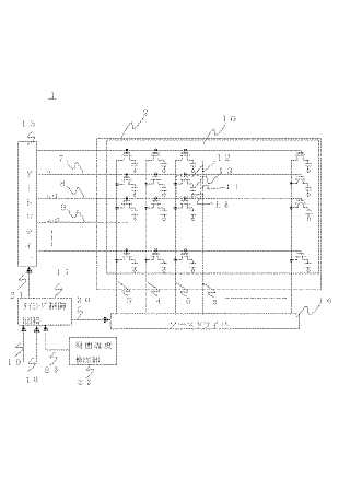
液晶パネルの駆動方法および液晶表示装置
授权日
1900-01-01
公开(公告)号
JP2007017863A
申请日
2005-07-11
公开(公告)日
2007-01-25
当前申请(专利权)人
三菱電機株式会社
发明人
中西 邦文 | 寺垣 智哉
简单同族
CN100451752C | CN1896813A | JP2007017863A | JP2007017863A5 | JP4661412B2 | KR100795856B1 | KR1020070007720A | TW200709146A | US20070008274A1 | US7786966
简单同族成员数量
10
简单同族被引用专利总数
63
诉讼案件数
0
法律状态/事件
授权
抱歉,您的浏览器不支持PDF预览,请点击链接下载PDF文件