专利数据库
统计分析
产业报告
专利数据监控
产业人才
行业动态
产业政策法规
维权援助
个人中心
详情
文本
图像
标题
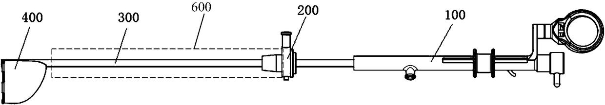
一种膀胱肿瘤切取器
授权日
1900-01-01
公开(公告)号
CN107126253A
申请日
2017-05-05
公开(公告)日
2017-09-05
当前申请(专利权)人
中国人民解放军第二军医大学
发明人
盛佳雁 | 杨庆 | 肖亮 | 王珂男 | 肖成武 | 张超 | 许传亮 | 孙颖浩
简单同族
CN107126253A
简单同族成员数量
1
简单同族被引用专利总数
0
诉讼案件数
0
法律状态/事件
实质审查
抱歉,您的浏览器不支持PDF预览,请点击链接下载PDF文件