专利数据库
统计分析
产业报告
专利数据监控
产业人才
行业动态
产业政策法规
维权援助
个人中心
详情
文本
图像
标题
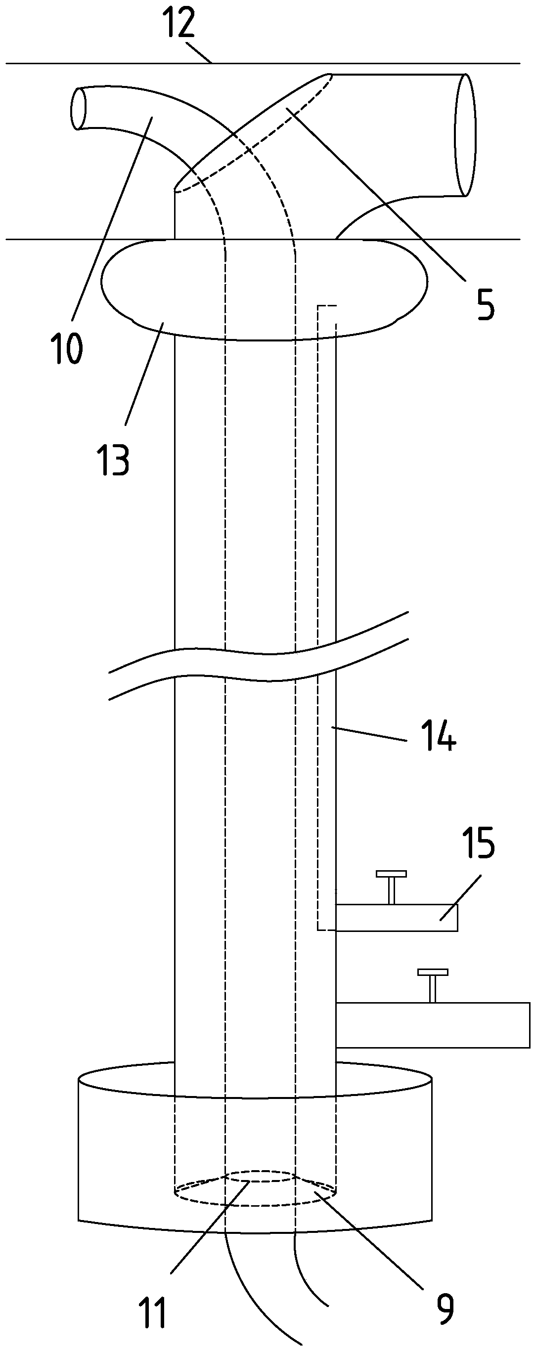
胆总管探查球囊鞘管
授权日
2019-07-09
公开(公告)号
CN209075814U
申请日
2018-07-27
公开(公告)日
2019-07-09
当前申请(专利权)人
上海市东方医院
发明人
胡海 | 张诚 | 杨玉龙 | 赵刚
简单同族
CN209075814U
简单同族成员数量
1
简单同族被引用专利总数
0
诉讼案件数
0
法律状态/事件
授权
抱歉,您的浏览器不支持PDF预览,请点击链接下载PDF文件