专利数据库
统计分析
产业报告
专利数据监控
产业人才
行业动态
产业政策法规
维权援助
个人中心
详情
文本
图像
标题
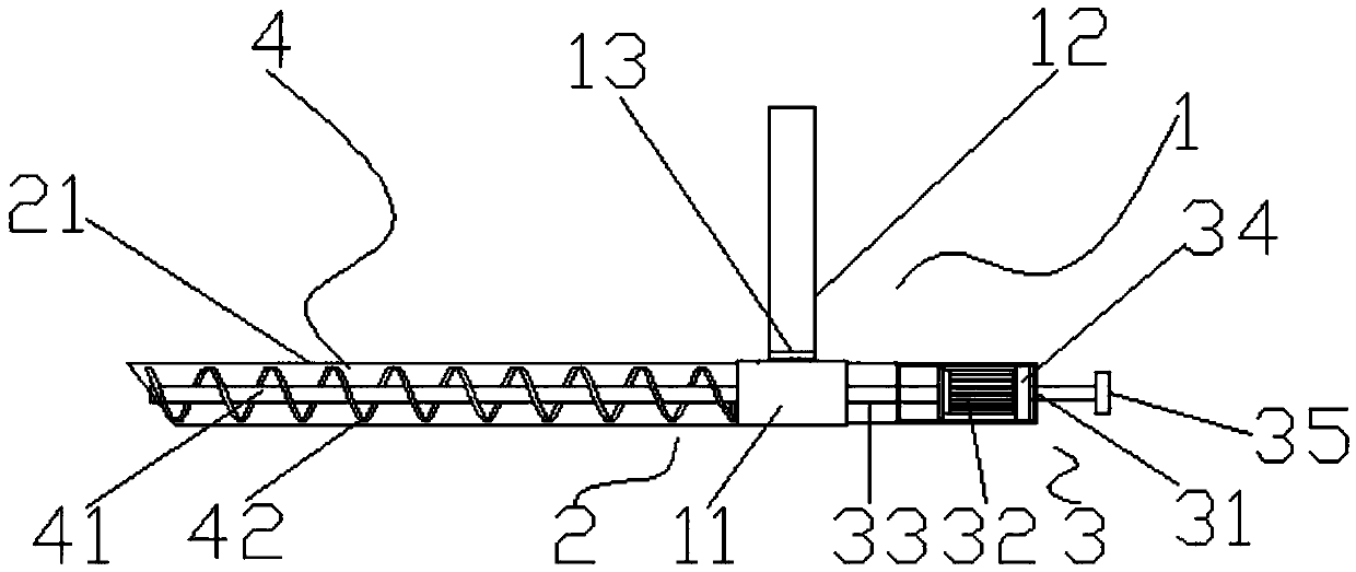
一种腹膜外脂肪取出器
授权日
2020-01-21
公开(公告)号
CN209967160U
申请日
2018-11-22
公开(公告)日
2020-01-21
当前申请(专利权)人
中国人民解放军第二军医大学
发明人
崔心刚 | 王磊 | 干思舜 | 储传敏 | 叶剑青 | 曲发军 | 杨炜 | 田毅君 | 潘秀武 | 杨启维
简单同族
CN209967160U
简单同族成员数量
1
简单同族被引用专利总数
0
诉讼案件数
0
法律状态/事件
授权
抱歉,您的浏览器不支持PDF预览,请点击链接下载PDF文件