专利数据库
统计分析
产业报告
专利数据监控
产业人才
行业动态
产业政策法规
维权援助
个人中心
详情
文本
图像
标题
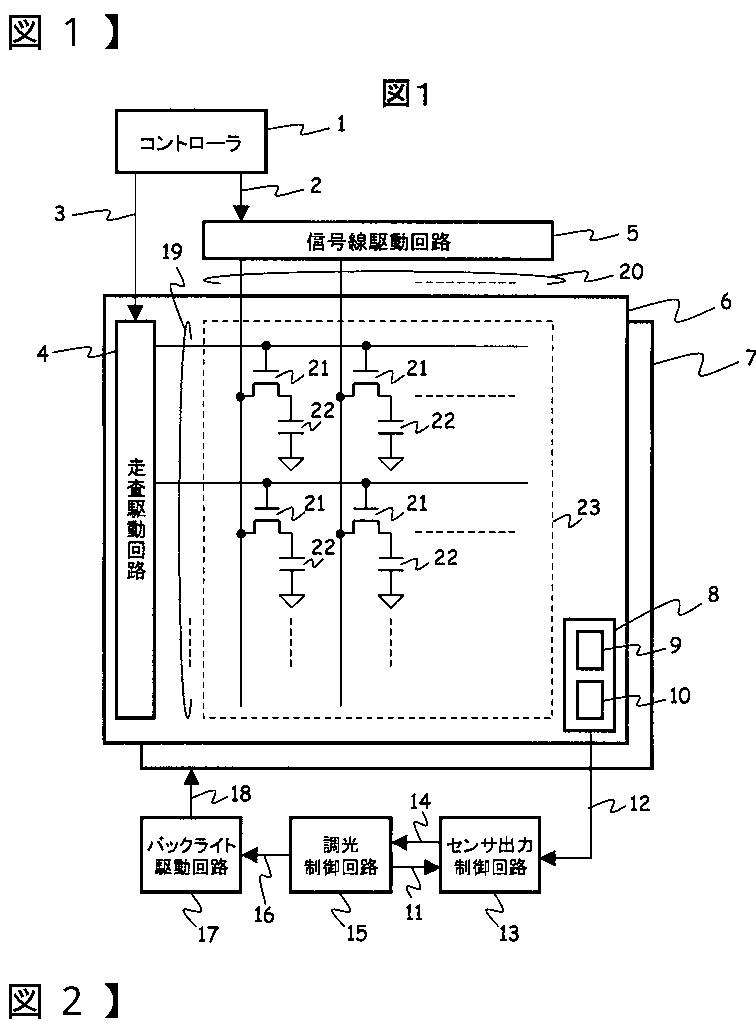
液晶表示装置
授权日
2010-01-08
公开(公告)号
JP4431994B2
申请日
2006-05-16
公开(公告)日
2010-03-17
当前申请(专利权)人
株式会社 日立ディスプレイズ
发明人
新田 博幸 | 佐藤 秀夫 | 工藤 泰幸
简单同族
CN100565652C | CN101075416A | JP2007309984A | JP4431994B2 | US20070268241A1
简单同族成员数量
5
简单同族被引用专利总数
77
诉讼案件数
0
法律状态/事件
授权 | 权利转移
抱歉,您的浏览器不支持PDF预览,请点击链接下载PDF文件