专利数据库
统计分析
产业报告
专利数据监控
产业人才
行业动态
产业政策法规
维权援助
个人中心
详情
文本
图像
标题
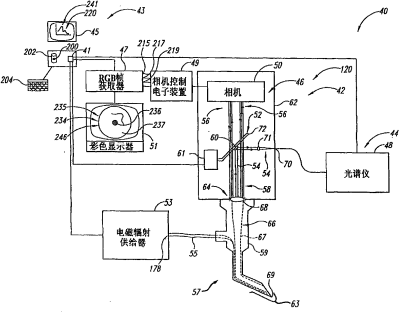
用于具有多个测量装置的同期荧光和反射测量的方法和设备
授权日
2009-04-15
公开(公告)号
CN100477952C
申请日
2001-12-18
公开(公告)日
2009-04-15
当前申请(专利权)人
博世创医疗公司
发明人
曾海山 | 斯蒂芬·拉姆 | 布兰科·米哈尔·帕尔奇克
简单同族
AU2002015792A1 | AU2002215792B2 | AU2006202483A1 | AU2006202484A1 | CA2432447A1 | CN100477952C | CN1489446A | EP1347702A2 | JP2004520105A | JP2008261885A | JP4499354B2 | US20020103439A1 | US20050167621A1 | US20050203421A1 | US20050203423A1 | US6826424 | US6898458 | US7115841 | US7190452 | US7253894 | WO2002050518A2 | WO2002050518A3
简单同族成员数量
22
简单同族被引用专利总数
443
诉讼案件数
0
法律状态/事件
未缴年费 | 权利转移
抱歉,您的浏览器不支持PDF预览,请点击链接下载PDF文件