专利数据库
统计分析
产业报告
专利数据监控
产业人才
行业动态
产业政策法规
维权援助
个人中心
详情
文本
图像
标题
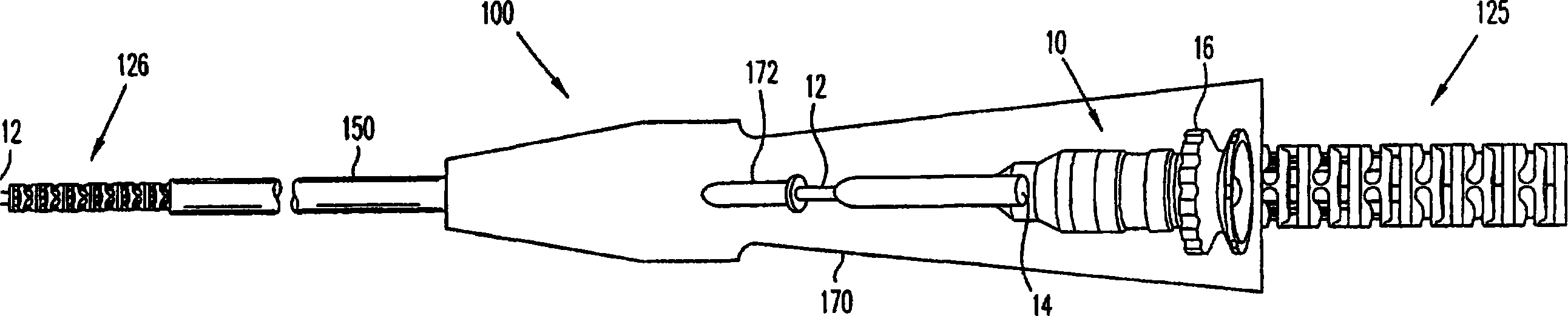
用于柔性器械的铰接护套
授权日
2010-08-11
公开(公告)号
CN101102713B
申请日
2005-09-15
公开(公告)日
2010-08-11
当前申请(专利权)人
诺瓦尔外科系统公司
发明人
D·J·达尼茨 | C·D·欣曼
简单同族
AT473675T | CN101102713A | CN101102713B | DE602005022351D1 | EP1833356A1 | EP1833356B1 | EP2335558A1 | JP2008520341A | JP5007374B2 | US20060111615A1 | US20110087071A1 | US20120323070A1 | US7785252 | US8277375 | US9155449 | WO2006057700A1
简单同族成员数量
16
简单同族被引用专利总数
238
诉讼案件数
0
法律状态/事件
授权
抱歉,您的浏览器不支持PDF预览,请点击链接下载PDF文件