专利数据库
统计分析
产业报告
专利数据监控
产业人才
行业动态
产业政策法规
维权援助
个人中心
详情
文本
图像
标题
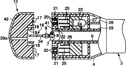
组织缝合方法和组织缝合器
授权日
1900-01-01
公开(公告)号
CN1720872A
申请日
2005-07-13
公开(公告)日
2006-01-18
当前申请(专利权)人
奥林巴斯株式会社
发明人
冈田裕太 | 关根竜太
简单同族
CN100473361C | CN1720872A | DE602005003985D1 | DE602005003985T2 | EP1616526A1 | EP1616526B1 | JP2006026013A | JP4257270B2 | US20060011698A1 | US20090212088A1 | US7694864
简单同族成员数量
11
简单同族被引用专利总数
459
诉讼案件数
0
法律状态/事件
授权
抱歉,您的浏览器不支持PDF预览,请点击链接下载PDF文件