专利数据库
统计分析
产业报告
专利数据监控
产业人才
行业动态
产业政策法规
维权援助
个人中心
详情
文本
图像
标题
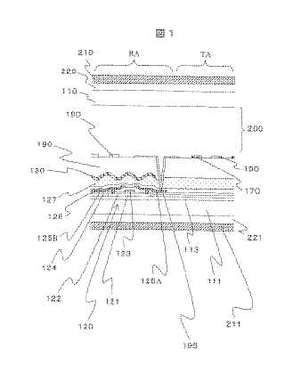
液晶表示装置
授权日
1900-01-01
公开(公告)号
JP2009037090A
申请日
2007-08-03
公开(公告)日
2009-02-19
当前申请(专利权)人
株式会社 日立ディスプレイズ | パナソニック液晶ディスプレイ株式会社
发明人
足立 昌哉 | 武田 新太郎
简单同族
CN101359118A | CN101359118B | JP2009037090A | JP4799505B2 | US20090284693A1 | US8164720
简单同族成员数量
6
简单同族被引用专利总数
55
诉讼案件数
0
法律状态/事件
授权 | 权利转移
抱歉,您的浏览器不支持PDF预览,请点击链接下载PDF文件