专利数据库
统计分析
产业报告
专利数据监控
产业人才
行业动态
产业政策法规
维权援助
个人中心
详情
文本
图像
标题
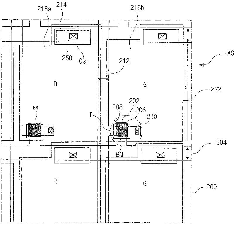
液晶表示装置及びその製造方法
授权日
1900-01-01
公开(公告)号
JP2006189765A
申请日
2005-06-29
公开(公告)日
2006-07-20
当前申请(专利权)人
エルジー ディスプレイ カンパニー リミテッド
发明人
ソン-リョル·パク
简单同族
CN100395643C | CN1797147A | JP2006189765A | JP4443476B2 | KR101106558B1 | KR1020060075503A | TW200622376A | TWI281060B | US20060139516A1 | US7773177
简单同族成员数量
10
简单同族被引用专利总数
50
诉讼案件数
0
法律状态/事件
授权
抱歉,您的浏览器不支持PDF预览,请点击链接下载PDF文件