专利数据库
统计分析
产业报告
专利数据监控
产业人才
行业动态
产业政策法规
维权援助
个人中心
详情
文本
图像
标题
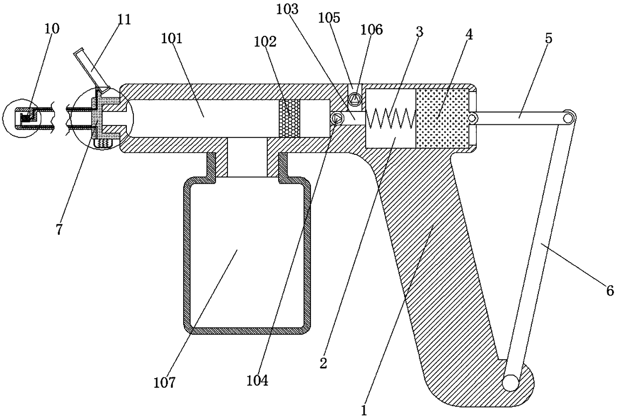
儿科专用可视吸痰器
授权日
1900-01-01
公开(公告)号
CN109010946A
申请日
2018-08-10
公开(公告)日
2018-12-18
当前申请(专利权)人
西安交通大学医学院第二附属医院
发明人
王莉 | 毛华 | 郝会香 | 毛锦 | 韦飞 | 刘晓花 | 井亚丽 | 耿永香 | 黄珍珍
简单同族
CN109010946A
简单同族成员数量
1
简单同族被引用专利总数
0
诉讼案件数
0
法律状态/事件
实质审查
抱歉,您的浏览器不支持PDF预览,请点击链接下载PDF文件