专利数据库
统计分析
产业报告
专利数据监控
产业人才
行业动态
产业政策法规
维权援助
个人中心
详情
文本
图像
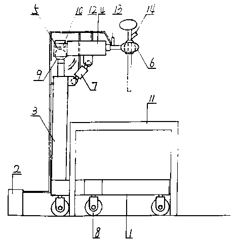
标题
全液动镜头支架
授权日
2015-11-25
公开(公告)号
CN204797775U
申请日
2015-06-17
公开(公告)日
2015-11-25
当前申请(专利权)人
冯晶晶
发明人
冯晶晶
简单同族
CN204797775U
简单同族成员数量
1
简单同族被引用专利总数
0
诉讼案件数
0
法律状态/事件
未缴年费
抱歉,您的浏览器不支持PDF预览,请点击链接下载PDF文件