专利数据库
统计分析
产业报告
专利数据监控
产业人才
行业动态
产业政策法规
维权援助
个人中心
详情
文本
图像
标题
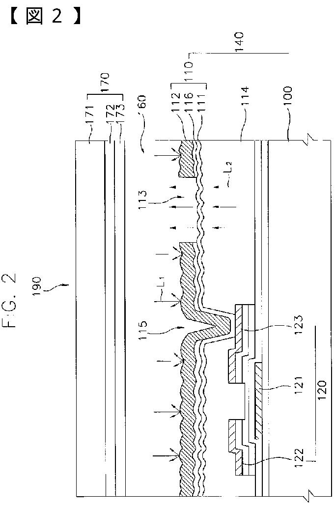
半透過型液晶表示装置、これの製造方法及び薄膜トランジスター基板の製造方法
授权日
2011-06-17
公开(公告)号
JP4761707B2
申请日
2002-06-26
公开(公告)日
2011-08-31
当前申请(专利权)人
サムスン エレクトロニクス カンパニー リミテッド
发明人
ムン,クッ-チュル | ユン,ジョ-スン | チョイ,ピル-モ | ヤン,ヨン-ホ | アン,ヤン-シック | キム,ホン-ギュン | ヨン,ヨン-ナム
简单同族
JP2004537754A | JP2004537754A5 | JP2010009068A | JP4761707B2 | JP5500937B2 | KR100776756B1 | KR100787914B1 | KR1020030012792A | KR1020030050302A | US20030025859A1 | US6879361 | WO2003012539A1
简单同族成员数量
12
简单同族被引用专利总数
60
诉讼案件数
0
法律状态/事件
授权 | 权利转移
抱歉,您的浏览器不支持PDF预览,请点击链接下载PDF文件