专利数据库
统计分析
产业报告
专利数据监控
产业人才
行业动态
产业政策法规
维权援助
个人中心
详情
文本
图像
标题
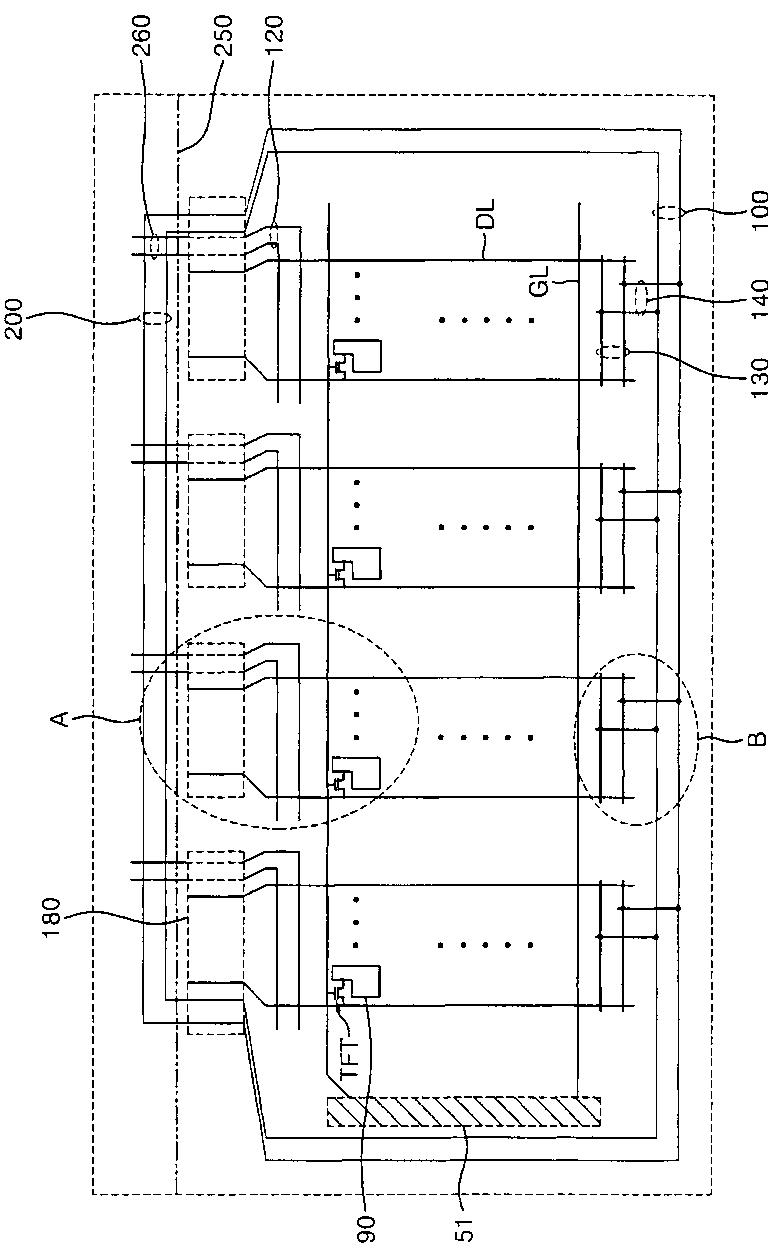
表示基板及びそれを含む液晶表示装置
授权日
2014-03-28
公开(公告)号
JP5505755B2
申请日
2007-12-27
公开(公告)日
2014-05-28
当前申请(专利权)人
三星ディスプレイ株式會社
发明人
金 徳 星 | 趙 聖 行
简单同族
CN101211026A | CN101211026B | JP2008165237A | JP5505755B2 | KR101347846B1 | KR1020080060499A | TW200839391A | TWI447497B | US20090284679A1 | US20110146066A1 | US7911552 | US7995184
简单同族成员数量
12
简单同族被引用专利总数
77
诉讼案件数
0
法律状态/事件
授权 | 权利转移
抱歉,您的浏览器不支持PDF预览,请点击链接下载PDF文件