专利数据库
统计分析
产业报告
专利数据监控
产业人才
行业动态
产业政策法规
维权援助
个人中心
详情
文本
图像
标题
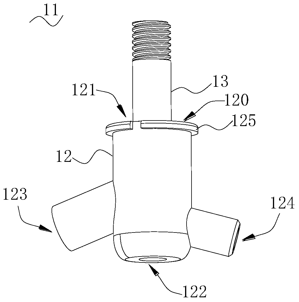
吸引阀及内窥镜
授权日
1900-01-01
公开(公告)号
CN110720879A
申请日
2019-11-15
公开(公告)日
2020-01-24
当前申请(专利权)人
岱川医疗(深圳)有限责任公司
发明人
李奕 | 刘红宇 | 孙平
简单同族
CN110720879A
简单同族成员数量
1
简单同族被引用专利总数
0
诉讼案件数
0
法律状态/事件
实质审查
抱歉,您的浏览器不支持PDF预览,请点击链接下载PDF文件