专利数据库
统计分析
产业报告
专利数据监控
产业人才
行业动态
产业政策法规
维权援助
个人中心
详情
文本
图像
标题
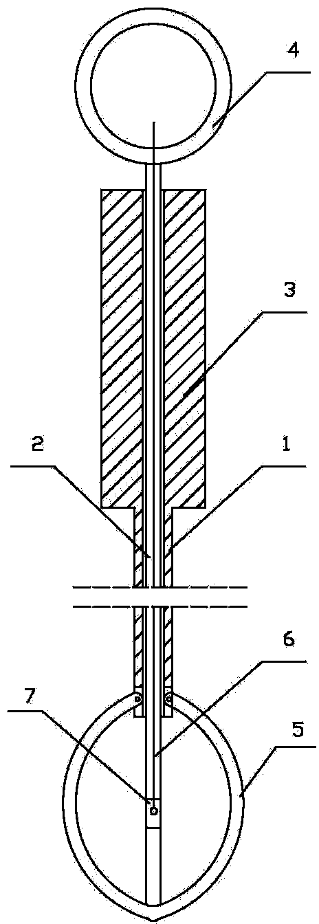
内窥镜异物取出器
授权日
2014-12-10
公开(公告)号
CN203988288U
申请日
2014-07-28
公开(公告)日
2014-12-10
当前申请(专利权)人
周新玲
发明人
周新玲
简单同族
CN203988288U
简单同族成员数量
1
简单同族被引用专利总数
0
诉讼案件数
0
法律状态/事件
未缴年费
抱歉,您的浏览器不支持PDF预览,请点击链接下载PDF文件