专利数据库
统计分析
产业报告
专利数据监控
产业人才
行业动态
产业政策法规
维权援助
个人中心
详情
文本
图像
标题
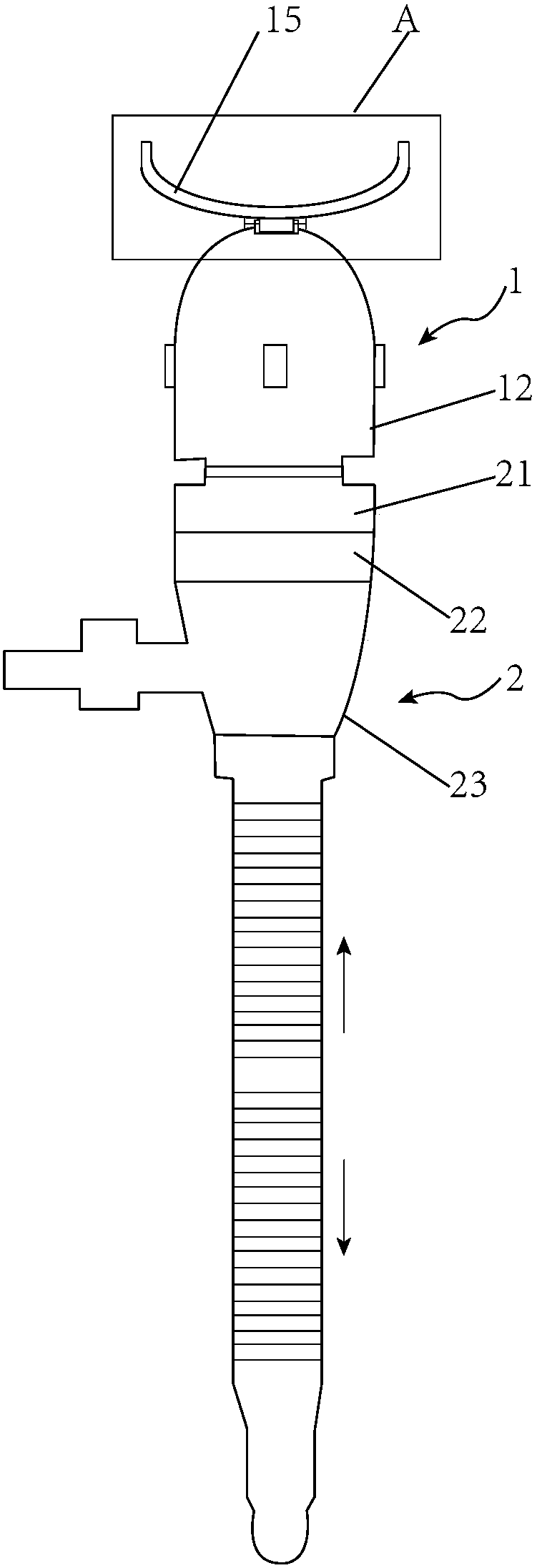
一次性使用内窥镜穿刺器
授权日
2018-12-11
公开(公告)号
CN208212058U
申请日
2017-11-14
公开(公告)日
2018-12-11
当前申请(专利权)人
河北诺盛科创生物科技有限公司
发明人
李相均
简单同族
CN208212058U
简单同族成员数量
1
简单同族被引用专利总数
0
诉讼案件数
0
法律状态/事件
授权
抱歉,您的浏览器不支持PDF预览,请点击链接下载PDF文件