专利数据库
统计分析
产业报告
专利数据监控
产业人才
行业动态
产业政策法规
维权援助
个人中心
详情
文本
图像
标题
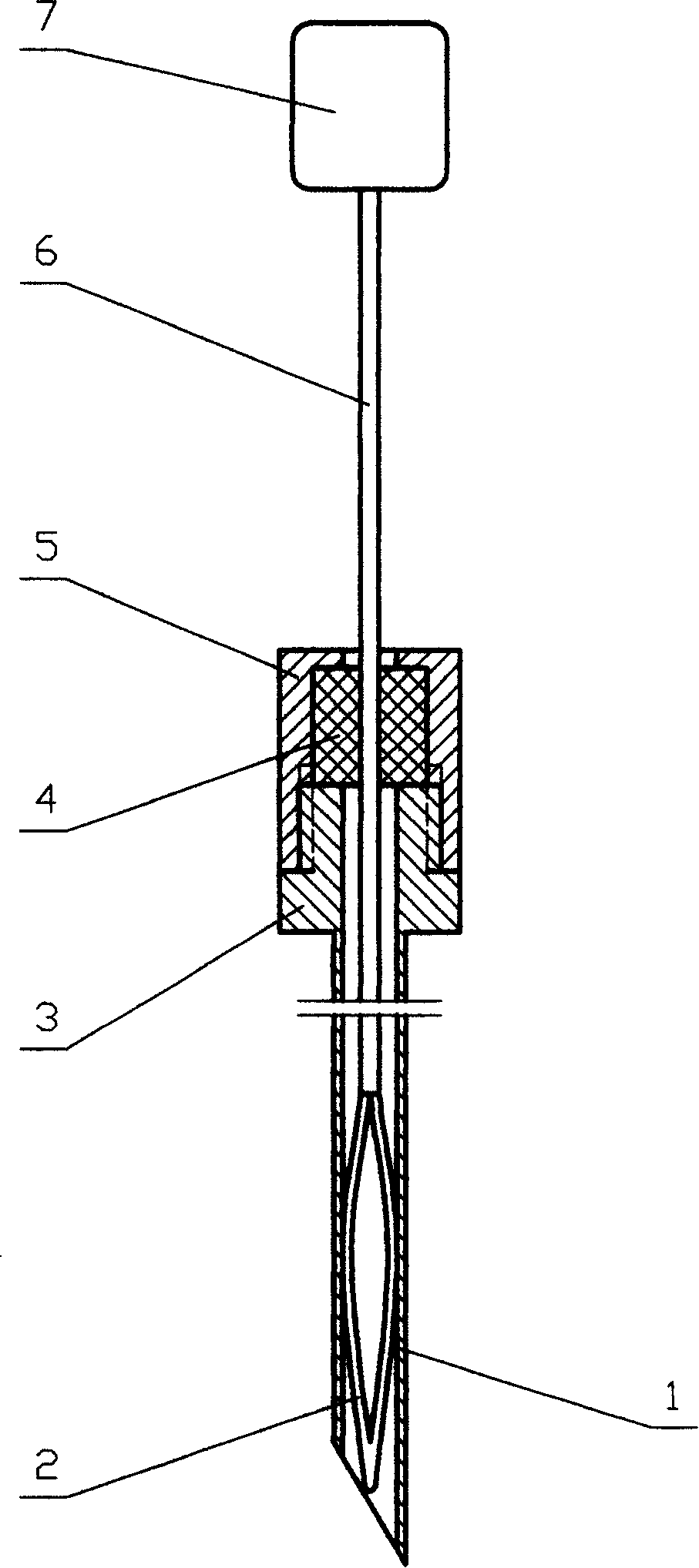
腹腔镜手术把持器
授权日
2006-07-12
公开(公告)号
CN2794437Y
申请日
2004-12-08
公开(公告)日
2006-07-12
当前申请(专利权)人
周明德
发明人
周明德
简单同族
CN2794437Y
简单同族成员数量
1
简单同族被引用专利总数
0
诉讼案件数
0
法律状态/事件
未缴年费
抱歉,您的浏览器不支持PDF预览,请点击链接下载PDF文件