专利数据库
统计分析
产业报告
专利数据监控
产业人才
行业动态
产业政策法规
维权援助
个人中心
详情
文本
图像
标题
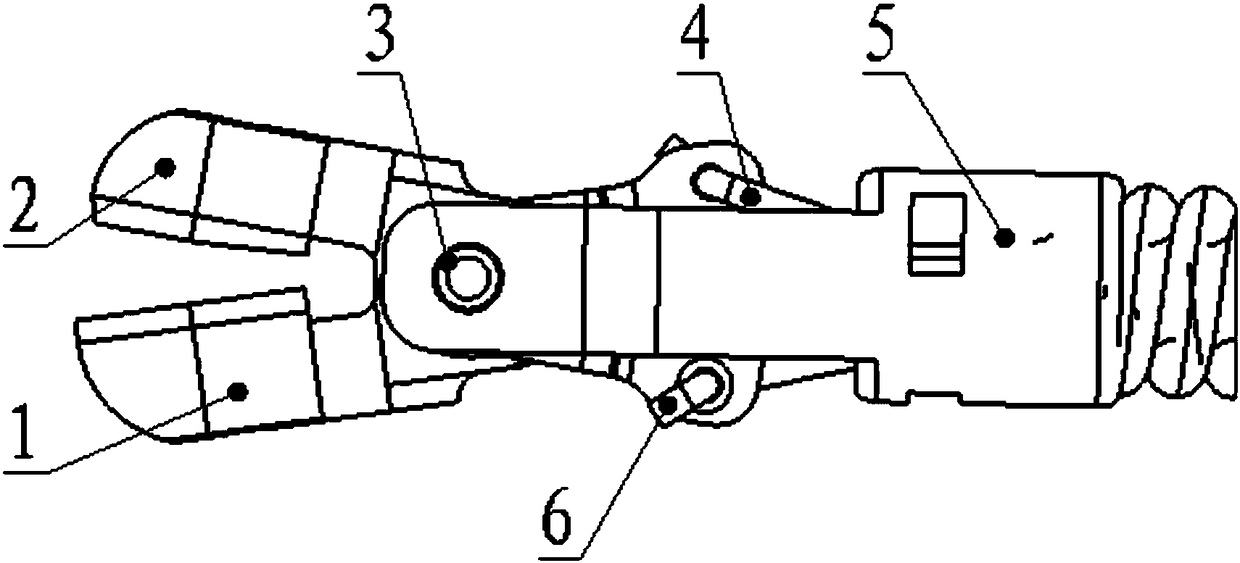
一种新型结构的内窥镜活体取样钳钳头组件
授权日
2018-07-24
公开(公告)号
CN207640448U
申请日
2017-05-10
公开(公告)日
2018-07-24
当前申请(专利权)人
安瑞医疗器械(杭州)有限公司
发明人
牛国富 | 张融南 | 徐文才
简单同族
CN207640448U
简单同族成员数量
1
简单同族被引用专利总数
0
诉讼案件数
0
法律状态/事件
授权
抱歉,您的浏览器不支持PDF预览,请点击链接下载PDF文件