专利数据库
统计分析
产业报告
专利数据监控
产业人才
行业动态
产业政策法规
维权援助
个人中心
详情
文本
图像
标题
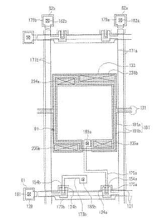
液晶表示装置
授权日
1900-01-01
公开(公告)号
JP2009181121A
申请日
2008-12-16
公开(公告)日
2009-08-13
当前申请(专利权)人
三星ディスプレイ株式會社
发明人
鄭 美 惠 | 蔡 鍾 哲 | 李 庸 羽 | 金 ヨン 究
简单同族
CN101498875A | CN101498875B | CN102566125A | CN102566125B | JP2009181121A | JP5732186B2 | KR101448001B1 | KR1020090083060A | US20090190058A1 | US20100220275A1 | US20120188477A1 | US8111341 | US8169582 | US8514270
简单同族成员数量
14
简单同族被引用专利总数
69
诉讼案件数
0
法律状态/事件
授权 | 权利转移
抱歉,您的浏览器不支持PDF预览,请点击链接下载PDF文件