专利数据库
统计分析
产业报告
专利数据监控
产业人才
行业动态
产业政策法规
维权援助
个人中心
详情
文本
图像
标题
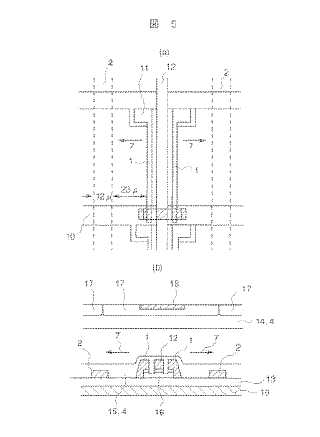
液晶表示装置
授权日
1900-01-01
公开(公告)号
JP2004310141A
申请日
2004-08-09
公开(公告)日
2004-11-04
当前申请(专利权)人
株式会社日立製作所
发明人
近藤 克己 | 寺尾 弘 | 阿部 英俊 | 太田 益幸 | 鈴木 堅吉
简单同族
JP2004310141A
简单同族成员数量
1
简单同族被引用专利总数
0
诉讼案件数
0
法律状态/事件
驳回
抱歉,您的浏览器不支持PDF预览,请点击链接下载PDF文件