专利数据库
统计分析
产业报告
专利数据监控
产业人才
行业动态
产业政策法规
维权援助
个人中心
详情
文本
图像
标题
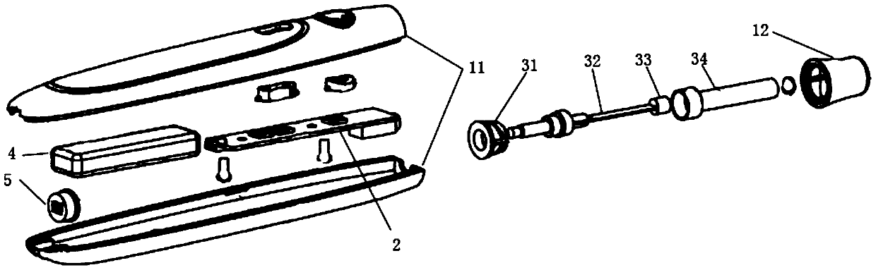
一种长杆内窥镜
授权日
2019-12-03
公开(公告)号
CN209712831U
申请日
2018-11-16
公开(公告)日
2019-12-03
当前申请(专利权)人
深圳市中科佳联科技有限公司
发明人
张玉清
简单同族
CN209712831U
简单同族成员数量
1
简单同族被引用专利总数
0
诉讼案件数
0
法律状态/事件
授权 | 权利转移
抱歉,您的浏览器不支持PDF预览,请点击链接下载PDF文件